
下面两图分别是kaiyun登陆官网设计的数控雕铣机机械装置(也可以称作机床)的主视图和右视图。该雕铣机的主要参数如下:
最大加工范围(纵向×横向×竖向):600×500×50(mm)
机床体积(长×宽×高):930×750×450(mm)
主轴电机功率:60W
主轴转速:0~6000r/min
进给电机转矩:(x、y轴):4.0N.m,(z轴):1.0N.m
最高移动速度:3m/min
最大夹持刀具直径:6mm
脉冲当量:0.01mm

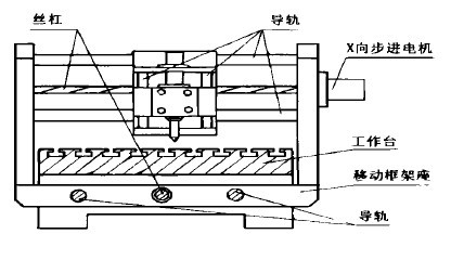
数控雕铣机主视图

数控雕铣机右视图
上一篇:数控工艺画雕铣机的控制系统
下一篇:数控雕铣机的电机的选择