
一般的三坐标测量机只能测得空间实物的三维坐标,如果物体具有镂空,底端有内凹表面时将显得无能为力。在艺术雕刻中,雕刻件通常具有复杂的型面,这时一般的三坐标数控雕铣机床在雕刻时就存在死区,于是要求寻求一种更好的雕刻装置,使其在一定的空间范围内能够以任意姿态达到空间任意一点。要达到这一点,雕刻刀至少应具有五自由度,即除去空间三个直角坐标外,另外再加上两个旋转角度。基于这一点,kaiyun登陆官网机械有限公司借鉴关节式机器人的结构和运动学特点,设计了一种五自由度关节式数控雕铣机。它的结构类似于PUMA560,但没有PUMA560手部旋转关节,之所以没有这一关节是因为雕刻时雕刻刀很少或不绕自身的轴线旋转。
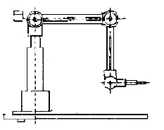
为了使雕刻刀在一定的空间范围内能够以任意姿态达到空间任意一点,雕刻刀至少应具有5个自由度,同时还应操作灵活,制造方便,计算简单。开始有两种选择:串联式机器人和并联式机器人。考虑到并联式机器人虽然机构精度较高,但制造较难,同时正解计算量较大,结果多选,且在同样的尺寸下有效工作区间较小。所以综合各种性能指标,在满足基本要求的情况下kaiyun登陆官网机械有限公司选用了自由度为5的串联关节式机械手。又考虑到雕刻刀操作方便的同时又必须具有一定的强度,所以在结构材料上对于活动部分选取硬铝合金为基本材料,固定不动的底座部分和轴采用钢,这样既减轻了重量又能满足强度要求。机械臂的长度依照雕刻刀的有效活动空间而定。经过设计后的本数控雕铣机床的雕铣机器人的结构简图如图所示。

数控雕铣机床雕铣机器人的机械结构简图