
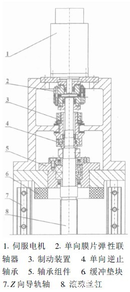
在数控雕铣机床进给系统中,伺服电机与滚珠丝杠联结要保证传动无间隙,这样才能准确执行脉冲指令,而不会丢掉脉冲造成“失步”。在数控雕铣机床中,X、Y、Z三轴均采用直联式,即通过单向膜片弹性无键联轴器,把伺服电机和滚珠丝杠联结起来。因单向膜片弹性联轴器采用涨紧套联结,完全消除了转动间隙,电机轴和丝杠轴上均不开键槽,则有利于高速转动的平衡,弹性联轴器的装卸也非常方便。丝杠和伺服电机的联结可参看图1、图2。

图1 滚珠丝杠的支承结构

图2 Z向滚珠丝杠支承、联结结构和制动装置
上一篇:滚珠丝杠的制动装置
下一篇:三维数控雕铣机床的导轨